🔧 Does This Fit My Vehicle, Check

Skip to product information
1 of 4
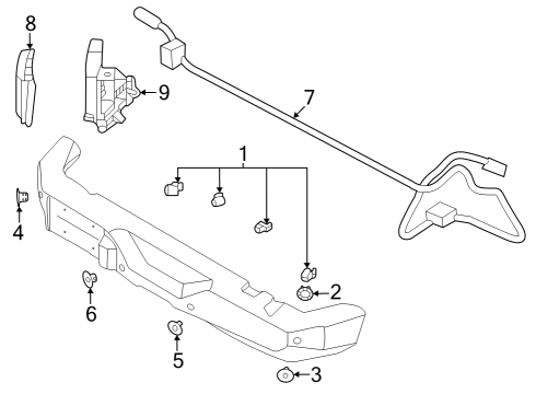
Callout ID #: 10 • 9
Main Category: Electrical
Make: Ford
Model: Bronco
Other Names: Bracket, Location: Driver Side, Part Notes: W/O Steel, Part Notes: W/Steel
Part Name: Bracket
Part Number: M2DZ-14D189-E

Part Number

M2DZ-14D189-E
Subcategory: Lane Departure Warning
Year: 2022, 2023

30 Day No Hassle Returns

Free! Shipping on orders over $500 Details

Ford

Bracket

Bracket

Regular price $432.67 USD
Regular price Sale price $432.67 USD
Sale Sold out

In stock

Shipping calculated at checkout.

Available Product Amount: 0

View full details